Introducción
El tratamiento de las fracturas de tobillo continúa siendo un foco de controversia cuyo origen radica en la variabilidad entre observadores a la hora de decidir qué fracturas pueden tratarse de forma ortopédica y cuáles necesariamente requieren cirugía, es decir, qué fracturas son estables y cuáles no.
En los últimos años, existe una tendencia en alza hacia la indicación quirúrgica, motivada por la necesidad de una recuperación rápida y con menor riesgo de desarrollo de artrosis postraumática, pero entre los partidarios de la cirugía tampoco hay consenso en cuanto a qué estrategias de fijación utilizar para la sindesmosis y el resto de los estabilizadores, puesto que con los métodos clásicos (reducción indirecta, pinza de reducción para compresión y tornillo transindesmal) se han comunicado altas tasas de malreducción, por lo que aparece una nueva corriente que considera la fractura de tobillo como una fractura articular y que, por tanto, precisa reducción anatómica y fijación interna estable de todos sus fragmentos para permitir una movilización precoz.
Concepto de estabilidad en fracturas de tobillo. Clasificación
A lo largo de la historia ha habido varios intentos de clasificar las fracturas de tobillo, cada una con sus fortalezas y debilidades y, como generalmente ocurre, las que se popularizan son aquellas más sencillas y reproducibles, y que demuestran su utilidad a la hora de decidir el tratamiento y predecir la evolución.
En la región que nos ocupa, la más citada es la clasificación de Danis-Weber, que es un sistema simple para catalogar las fracturas de tobillo con afectación del maléolo peroneo, tomando como referencia principal el nivel de la fractura del peroné en relación con la articulación del tibiofibular(1): infrasindesmal (tipo A), transindesmal (B) y suprasindesmal (C). Con este sencillo sistema se puede predecir la existencia de lesión ligamentosa e inestabilidad articular, con lo que tiene un papel a la hora de determinar el tipo de tratamiento.
La siguiente clasificación de fracturas de tobillo en orden de importancia es la de Lauge-Hansen, basada en la posición del pie y en la dirección de la fuerza lesiva, quedando así 4 tipos que se dividen en subtipos(2).
Cada estadio implica un paso más en la magnitud de la fuerza y engloba las lesiones de los anteriores; así, por ejemplo, el esquema de las lesiones de tipo supinación-rotación externa (las más frecuentes) puede observarse en la Figura 1A, en sentido horario para el pie derecho y antihorario para el izquierdo.
Muchos aspectos de ambas clasificaciones pueden interdigitarse y complementarse (Figura 1B), encontrando importantes analogías entre ambas, de forma que las fracturas de supinación-aducción corresponden por mecanismo de acción y hallazgos morfológicos a las Weber A, las de supinación-rotación externa y pronación-abducción a las Weber B y las que implican pronación-rotación externa a las Weber C.
Figura 1. A: secuencia de las lesiones en estadios SER; B: clasificación de Lauge-Hansen y su relación con la clasificación de Weber.

Los complejos ligamentosos del tobillo tienen como función mantener la integridad de la pinza o mortaja que la tibia y el peroné proporcionan al astrágalo, compensando las fuerzas rotacionales, de traslación y compresiones axiales que tienden a separar ambos huesos. Ogilvie et al. demostraron que el ligamento tibiofibular anteroinferior (LTFAI) proporciona un 35% de estabilidad articular, el ligamento tibiofibular posteroinferior (LTFPI) contribuye en un 40% y el ligamento interóseo en un 21%(3).
Los estudios realizados en cadáveres han demostrado que el principal estabilizador del tobillo es el ligamento deltoideo, mientras que la sindesmosis se encontraría en un segundo plano; una lesión sindesmótica aislada no se considera un factor grave de inestabilidad(4,5), pero si aparece unida a una lesión del ligamento deltoideo el tobillo se luxa con una flexión plantar de 25°, según demostraron Michelson et al.(6).
Aunque clásicamente se considera que la lesión sindesmal aparece en un 10 a un 30% de las fracturas de tobillo(7), lo cierto es que este dato se refiere a la necesidad de fijación, puesto que la gran mayoría de las fracturas maleolares afectan algún componente del complejo ligamentoso aunque no se comprometa la estabilidad de la articulación tibiofibular distal ni la tibiotalar. Al hilo de este razonamiento, podríamos establecer analogías con otras regiones anatómicas como el complejo suspensorio del hombro para indicar la necesidad de estabilización quirúrgica, siendo el criterio de inestabilidad dado por la lesión de 2 o más componentes. De igual modo, una vez establecida la inestabilidad de la articulación tibiofibular distal por lesión sindesmal, como ocurre en las fracturas pélvicas, podríamos distinguir entre la inestabilidad rotacional, en la que el peroné puede sufrir una rotación interna o externa al pivotar en la incisura fibular sobre el LTFAI cuando el posterior es incompetente (o viceversa), la inestabilidad vertical cuando el peroné puede ascender (acortarse) y la inestabilidad en el plano sagital cuando el peroné se puede situar anterior o posterior a la incisura.
Por todo esto, a pesar de las controversias, generalmente se acepta que son de indicación quirúrgica todas las fracturas que afectan a 2 o más estabilizadores principales, es decir, las bi- o trimaleolares y sus equivalentes ligamentosos, lo cual implica que toda fractura de tobillo con afectación del complejo medial-ligamento deltoideo requiere cirugía, aunque este puede abordarse para reparación directa o no, tema que será discutido en otro capítulo de la monografía. Las mayores discrepancias de criterio se producen entre las fracturas de tipo SER II (estables) y las SER IV (inestables), puesto que su apariencia en la radiología simple puede ser idéntica si en los estadios III y IV la afectación es solo ligamentosa, de forma que habría que demostrar la estabilidad o desenmascarar la inestabilidad latente sometiendo a maniobras de estrés a estas estructuras, como se discutió en el capítulo de diagnóstico.
En cuanto a la necesidad de reparar la sindesmosis, a continuación destacamos las distintas estrategias.
Enfoque clásico de reparación indirecta
La clasificación de Weber no toma en consideración la fractura del maléolo interno y, ciñéndose a ella, solo habría que tratar la sindesmosis en el tipo C, el único que espera que aparezca inestabilidad sindesmal. Sin embargo, la inestabilidad sindesmótica puede coexistir con fracturas Weber B, a pesar de que las recomendaciones actuales no son claras sobre si en ellas es necesario asociar sistemas para estabilizar la sindesmosis tras la osteosíntesis del tobillo; así lo demuestran Stark et al.(8), que estudiaron 238 tobillos con fracturas Weber B encontrando inestabilidad en 93 (39%) después de la fijación interna, y Heim et al.(9), que analizan 90 de estas fracturas observando que 17 tobillos permanecían inestables después de operar los maléolos y esta inestabilidad se resolvía con un tornillo sindesmótico, lo cual demuestra la existencia de una lesión no esperada según su clasificación.
La obtención de una correcta reducción y restauración de la competencia de la sindesmosis es esencial para restaurar la mecánica normal del tobillo y prevenir cambios degenerativos secundarios precoces. Parece claro que la presencia de lesión y la necesidad de reparación sindesmal empeoran el pronóstico en cuanto a calidad de vida y artrosis postraumática(10,11).
El interés suscitado hizo que en un corto espacio de tiempo aparecieran varios artículos que proponen métodos pre- e intraoperatorios para la detección de la lesión sindesmal latente(12,13,14).
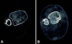
En el enfoque tradicional, los esfuerzos van encaminados a la consecución de una reducción anatómica y fijación interna estable de los maléolos lateral y medial, que se realiza en primer lugar. Tras ello, se aplican maniobras de estrés para evaluar la integridad de la sindesmosis, como el test de Cotton (tracción lateral del peroné) o la rotación externa forzada, observando si estas hacen aumentar los espacios claros medial o tibiofibular en la fluoroscopia(15,16). Si existe sospecha de inestabilidad, se procede a la reducción del peroné a la incisura mediante pinzas de reducción a compresión con control radiológico pero sin visualización directa, lo cual aumenta el riesgo de reducciones inadecuadas(17,18,19)(Figura 2).
Figura 2. Imágenes de tomografía computarizada. A: corte axial con reducción adecuada del peroné en la incisura; B: reducción inadecuada con incongruencia.

Marmor et al.(20) proponen descubrir una malposición del peroné según su apariencia fluoroscópica y la medida del espacio claro tibiofibular comparado con el miembro contralateral sano; un ensanchamiento del espacio claro tibiofibular y/o un peroné con forma de cuchara implican rotación interna fibular, mientras que la forma de cuchillo o un estrechamiento del espacio claro indican rotación externa.
Una vez conseguida la reducción del peroné en la incisura, se procede a la fijación transindesmal con 1 o 2 tornillos o sistemas elásticos; su elección, número y posición son temas que también ofrecen posibilidad de intensos debates que se discutirán en capítulos más adelante(21,22).
Esta estrategia se basa en confiar en la consolidación de los ligamentos que hará que recuperen su tensión y capacidad de restricción con el tiempo, por lo que el cirujano debía esforzarse en garantizar la estabilidad provisional de las estructuras con tornillos (que serían retirados posteriormente o no), con el fin de evitar insuficiencias por elongación o ausencia de consolidación al no hacer reparación ligamentosa directa.
Enfoque actual de reparación anatómica directa
Existen multitud de estudios recientes(11,12,14,16,17,18,19) que demuestran que es inadecuado valorar la correcta reducción tibiofibular e incluso tibiotalar mediante fluoroscopia, puesto que tan solo un milímetro de traslación lateral del astrágalo produce un cambio en la transmisión de la carga que genera aumentos de presión en las zonas de contacto, originando mayor estrés articular y degeneración(23). Esto ha llevado a proponer la restauración de todos los componentes lesionados en la fractura de tobillo, dando lugar a la “fijación fragmento a fragmento y ligamento a ligamento”, lo cual implica un diagnóstico más preciso mediante tomografía computarizada (TC) preoperatoria y la visualización directa de todos ellos y de la reducción final(24).
Con esta técnica la estabilización sindesmal y del tobillo se consigue de forma directa, al reparar los maléolos lateral y medial, el canto posterior (inserción del LTFPI), el fragmento de Chaput-Tillaux o Lefort-Wagstaffe (origen e inserción del LTFAI) y el ligamento deltoideo. Cuando se observan desinserciones sin fragmento óseo, se recomienda la reinserción de los ligamentos y su manguito perióstico avulsionado mediante arpones en la huella que el arrancamiento deja en el hueso(24,25).
Dado que el LTFPI es el principal estabilizador sindesmal, existe una tendencia creciente a considerar la importancia del maléolo posterior y será tratado en un capítulo específico. Para Streubel et al.(26), en presencia de fractura del maléolo posterior con lesión sindesmótica, se recomienda la reducción abierta y fijación, independientemente de su tamaño, por varias razones. En primer lugar, el maléolo posterior incluye por definición el reborde posterior de la incisura tibial y, como se ha comentado, la reducción de los componentes sindesmóticos por técnicas cerradas es poco precisa. Al reducir anatómicamente el maléolo posterior, se reconstruye la incisura y se asegura la buena reducción del peroné en la articulación tibiofibular, se devuelve al LTFPI a su posición y tensión adecuadas y, por último, se mejora la congruencia articular, con lo que el riesgo de artrosis postraumática precoz se minimiza.
Las ventajas de la reparación anatómica son indudables, dado que proporciona reducciones mucho más precisas y estables, de forma que se puede obviar la necesidad de dispositivos transindesmales ahorrando costes y la necesidad de reintervenciones para la retirada de los mismos(27,28); sin embargo, también se encuentran una serie de desventajas, como el aumento del tiempo quirúrgico por la mayor agresividad de los abordajes o la necesidad de cambiar de posición al paciente durante la cirugía. Para minimizar esta posibilidad, nosotros utilizamos el abordaje posterolateral en decúbito prono cuando no se prevé necesario reparar fragmentos dependientes del LTFAI y el abordaje lateral clásico asociado a una modificación del posteromedial en decúbito supino prolongando la incisión para el maléolo interno por la cresta tibial medial y accediendo al aspecto posterior de la tibia por delante del tendón tibial posterior y el paquete neurovascular, lo cual permite tener acceso tanto a las estructuras anteriores por el abordaje lateral como a las posteriores por el medial y da incluso la posibilidad de observar la reducción articular a través del foco de fractura del maléolo interno (Figuras 3 y 4).
Figura 3. Casos clínicos con abordaje posterolateral (arriba), señalando con la pinza mosquito el ligamento tibiofibular posteroinferior, y con abordaje posteromedial (abajo), donde se observa la reducción del maléolo posterior y toda la articulación a través del foco de fractura del maléolo medial separado por los ganchos.

Otro inconveniente, por tanto, de la estrategia anatómica es que se hace necesaria una planificación preoperatoria más exquisita que en el enfoque clásico, donde las decisiones se toman intraoperatoriamente y no se tratan de forma directa algunos componentes de la lesión, por lo que sería preceptiva la indicación de TC para la correcta observación y clasificación de todas las estructuras lesionadas que necesitamos reparar(29), algo que no se admite en todos los centros de nuestro medio.
Figura 4. Caso tratado con el enfoque anatómico. En la tomografía computarizada preoperatoria se observa avulsión del ligamento tibiofibular anteroinferior y fractura maleolar posterior (A). En supino, abordaje lateral clásico con acceso a la articulación tibiofibular distal, comprobando la reducción y reanclando el ligamento con arpón (B). Después, abordaje posteromedial en supino para acceso medial y posterior. C: resultado final.
Figura 4. Caso tratado con el enfoque anatómico. En la tomografía computarizada preoperatoria se observa avulsión del ligamento tibiofibular anteroinferior y fractura maleolar posterior (A). En supino, abordaje lateral clásico con acceso a la articulación tibiofibular distal, comprobando la reducción y reanclando el ligamento con arpón (B). Después, abordaje posteromedial en supino para acceso medial y posterior. C: resultado final.

Conclusiones
La lesión sindesmal en el seno de una fractura de tobillo plantea un reto tanto en el diagnóstico como en la toma de decisiones en cuanto a la necesidad de reducción y el tipo de fijación. Una lesión sindesmal puede ser inestable aunque exista poco desplazamiento en la radiología simple y podemos asumir que alguno de los componentes sindesmales estará lesionado en todas las fracturas de tobillo Weber B y C, aunque no todas producirán un compromiso en la articulación tibiotalar, lo cual depende principalmente de la competencia del ligamento deltoideo.
Puesto que se reportan problemas en la reducción, en la fijación transindesmal y en el resultado final del tratamiento de las fracturas de tobillo con el enfoque clásico, se está produciendo un cambio de filosofía en cuanto al tratamiento de la lesión sindesmal en las fracturas que se demuestren inestables, que implica reducir y fijar anatómicamente cada fragmento óseo y ligamentoso.